11 月 9 日消息,科技媒體 mspoweruser 昨日(11 月 8 日)發布博文,報道稱三星公司已獲批新的專利,暗示三星有望商用三折疊手機。
根據美國商標和專利局(USPTO)最新公示的清單,該專利于 2021 年 7 月提交,2024 年 11 月獲批生效,共有 25 頁,主要介紹在三折疊狀態下如何保持屏幕耐用性和韌性。
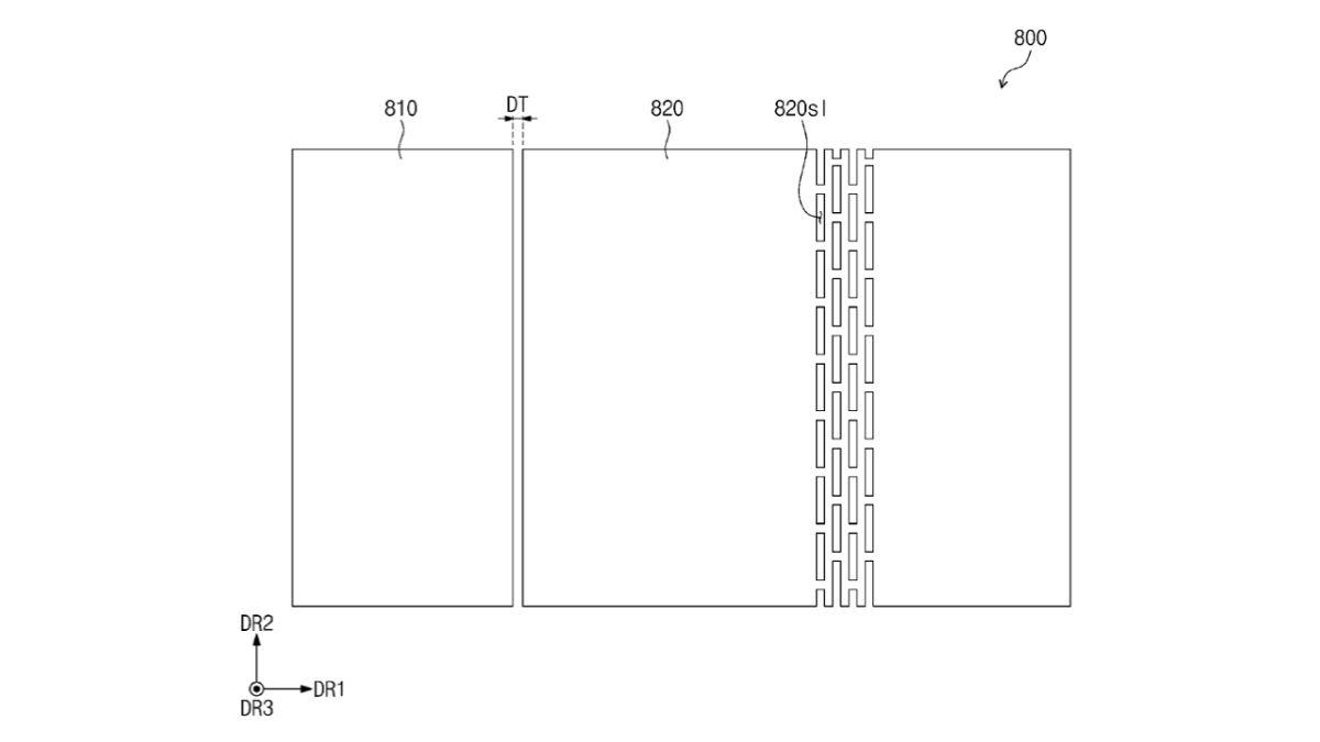
該設計采用了專用的隔離層,具有戰略性開口,減少了對屏幕的壓力,使得折疊更加容易;支撐板和粘合層使用了不銹鋼或玻璃等耐用材料,以增強設備的穩定性。
三星在顯示面板中加入了抗反射層,旨在減少反射光對用戶的影響。此外,屏幕下方還設計了多層結構,包括阻隔層和緩沖層,以防止外界物質對屏幕造成損害。IT之家附上相關圖片如下:




